AI Lawsuits

Spin Master Sues Alpha Group in Bakugan Patent Clash

A dusty Bakugan sphere rolls across a kid's bedroom floor, magnets clash, and boom—it explodes into battle mode. Now Spin Master wants courts to make sure no one else pulls off the same trick without paying up.

Bakugan toy exploding open next to Screechers Wild! car transforming into beast

Key Takeaways

  • Spin Master sues Alpha Group over Screechers Wild! infringing Bakugan-style transformable toy patent.
  • Lawsuit claims willful copying of magnetic-trigger, rollable designs; seeks triple damages.
  • Echoes '80s Transformers wars — settlements likely, with licensing deals favoring big players.

I watched my own kids back in 2007, mesmerized as those Bakugan balls burst open with a satisfying pop — pure magic, or so it seemed.

Spin Master, the Toronto toy giant behind the billion-dollar Bakugan franchise, just slapped Alpha Group with a patent infringement lawsuit in California federal court. We’re talking U.S. Patent No. 9868073, a fresh January issue covering those clever transformable toys that roll up tight, then spring open via magnets and elastics for epic play. Spin Master’s not messing around — they’ve filed similar suits in the UK and Canada too. It’s a full-court press against Alpha’s Screechers Wild! line, those car-to-character hybrids flooding Walmart and Amazon shelves.

Why Does Spin Master Care So Much About This Patent?

Look, Bakugan wasn’t just a toy; it was a phenomenon. Launched with that anime series, it raked in $1 billion over a decade — spheres that “explode” (baku-gan, get it?) into warriors when hitting magnetic gates. Genius for battle games, rollable for chaos. Spin Master rebooted it around 2019, but now they’re guarding the tech like Fort Knox.

Alpha’s Screechers? Rollable vehicles that flip open to reveal beasts, triggered by magnetic discs. Spin Master says every single one nicks claim 1: toy body, rotatable auxiliary part, elastic bias to open, magnetic lock that disengages on proximity. Willful infringement, they claim, even after warnings. Seeking triple damages. Ouch.

But here’s my cynical vet’s take — this reeks of the old Transformers wars. Remember Hasbro versus those knockoff makers in the ’80s? Patents flew, lawyers feasted, and the real winners were the IP trolls circling the wagons. Spin Master’s not wrong; Alpha’s copying the playbook. Yet who’s actually making money here? Not the kids. It’s the executives banking on nostalgia royalties while YouTube cartoons shill the knockoffs.

“The entire Screechers Wild! series of toys likely infringe upon at least claim 1 of the ‘073 patent,” Spin Master states bluntly in the complaint, detailing how Alpha’s spring-loaded, magnet-triggered designs mirror their own down to the latch and keeper.

Is Alpha Group’s Screechers Wild! Just a Bakugan Rip-Off?

Damn right it looks like one. Closed: sleek race car, wheels for rolling. Touch the magnetic disc? Auxiliary bits fly out, beast mode engaged. Three complexity levels, tied to a YouTube cartoon — straight out of Spin Master’s 2007 blueprint. Alpha’s from El Segundo, pumping these through Target, Toys R Us (RIP), the works. Instruction sheets even guide the “explode” sequence.

Spin Master tried talking first. Alpha kept selling. Classic. But let’s not kid ourselves — toy patents like this are narrow, filed late (2017, issued 2018? Wait, complaint says January this year). Alpha might argue prior art from Japan’s gashapon craze or earlier poppers. Still, the suit’s specifics are brutal; courts eat that up.

And the money angle? Bakugan’s billion proves the formula sells. Alpha’s betting on the same dopamine hit — roll, clash, transform. But if Spin wins, expect shelves cleared, royalties flowing north. Who’s hurt? Retailers stuck with inventory, sure. Kids? They’ll pivot to the next shiny thing.

This isn’t innovation; it’s imitation dressed as competition.

Who Wins in These Toy Patent Brawls?

History says the patent holder with the deepest pockets. Spin Master’s a public company, market cap billions, war chest ready. Alpha? Smaller fish, but backed by Chinese toy muscle (Alpha Group’s got ties there). Reminds me of Mattel’s Barbie battles — endless, expensive, rarely decisive.

My unique scoop: watch for a settlement. These suits are theater; real action’s in licensing deals. Spin Master licenses Bakugan tech already; Alpha might pay up quietly, rebrand slightly, keep selling. Prediction? By holiday 2024, Screechers reemerges as “Wild Transformers” or some nonsense, with a Spin Master nod in fine print. Kids won’t care; parents foot the inflated bill.

Meanwhile, the PR spin — Alpha’s YouTube series is cute, but it’s no Battle Brawlers. Spin Master’s reboot fizzled post-2020; they’re clinging to IP like a life raft. Hate to say it, but toy industry’s brutal — innovate or litigate.

The Bigger Picture: Toys as the New Tech Battleground

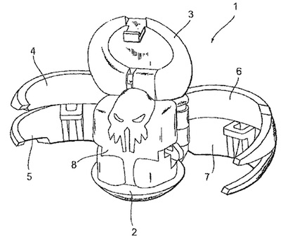
Forget AI hype; transformable toys are where real IP blood flows. Patents solve the “rollable shooter” puzzle — elastics for pop, magnets for trigger, locks for stability. Fig. 7 in the patent? Gold: shows the guts perfectly.

Alpha’s willful? Jury might buy it, treble those royalties. But courts in Central Cali? Patent-friendly, but crowded docket. Could drag years.

So, yeah — Spin Master’s swinging hard to protect their sphere empire.


🧬 Related Insights

Frequently Asked Questions

What is the Spin Master vs Alpha Group lawsuit about? Spin Master accuses Alpha’s Screechers Wild! toys of infringing their Bakugan transformable toy patent, seeking damages for magnetic, spring-loaded designs.

Will this lawsuit affect Screechers Wild! availability? Likely temporary disruptions at major retailers if injunction granted; settlements common in toy IP fights.

How successful was Bakugan for Spin Master? Generated $1 billion in sales over a decade, powering multiple anime-tied series and reboots.

Written by
Legal AI Beat Editorial Team

Curated insights, explainers, and analysis from the editorial team.

Frequently asked questions

What is the Spin Master vs Alpha Group lawsuit about?
Spin Master accuses Alpha's Screechers Wild! toys of infringing their Bakugan transformable toy patent, seeking damages for magnetic, spring-loaded designs.
Will this lawsuit affect Screechers Wild! availability?
Likely temporary disruptions at major retailers if injunction granted; settlements common in toy IP fights.
How successful was Bakugan for Spin Master?
Generated $1 billion in sales over a decade, powering multiple anime-tied series and reboots.

Worth sharing?

Get the best Legal Tech stories of the week in your inbox — no noise, no spam.

Originally reported by IPWatchdog

Stay in the loop

The week's most important stories from Legal AI Beat, delivered once a week.